LEMON Manuals: Even more car manuals for everyone
Home >> Cadillac >> 1999 >> Seville STS V8-4.6L VIN 9 >> Repair and Diagnosis >> Specifications >> Mechanical Specifications >> Engine >> System Specifications >> Thread Repair Specifications

Thread Repair Specifications

1 Of 2:




2 Of 2:





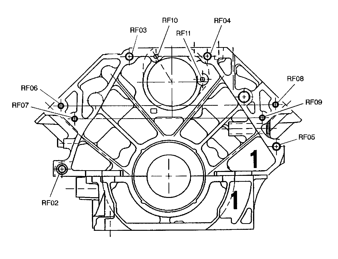
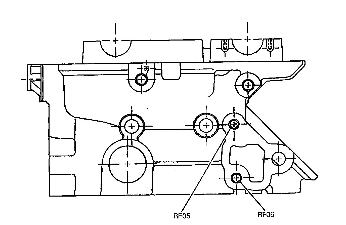
Rear Face Of Cylinder Block

1 Of 2:




2 Of 2:





Left Side Of Cylinder Block

1 Of 3:




2 Of 3:




3 Of 3:





Front Face Of Cylinder Block

1 Of 2:




2 Of 2:





Right Side Of Cylinder Block

1 Of 3:




2 Of 3:




3 Of 3:





Cylinder Block Pan Rail

1 Of 2:




2 Of 2:





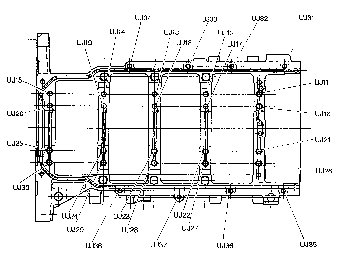
Cylinder Block Upper Joint

1 Of 2:




2 Of 2:





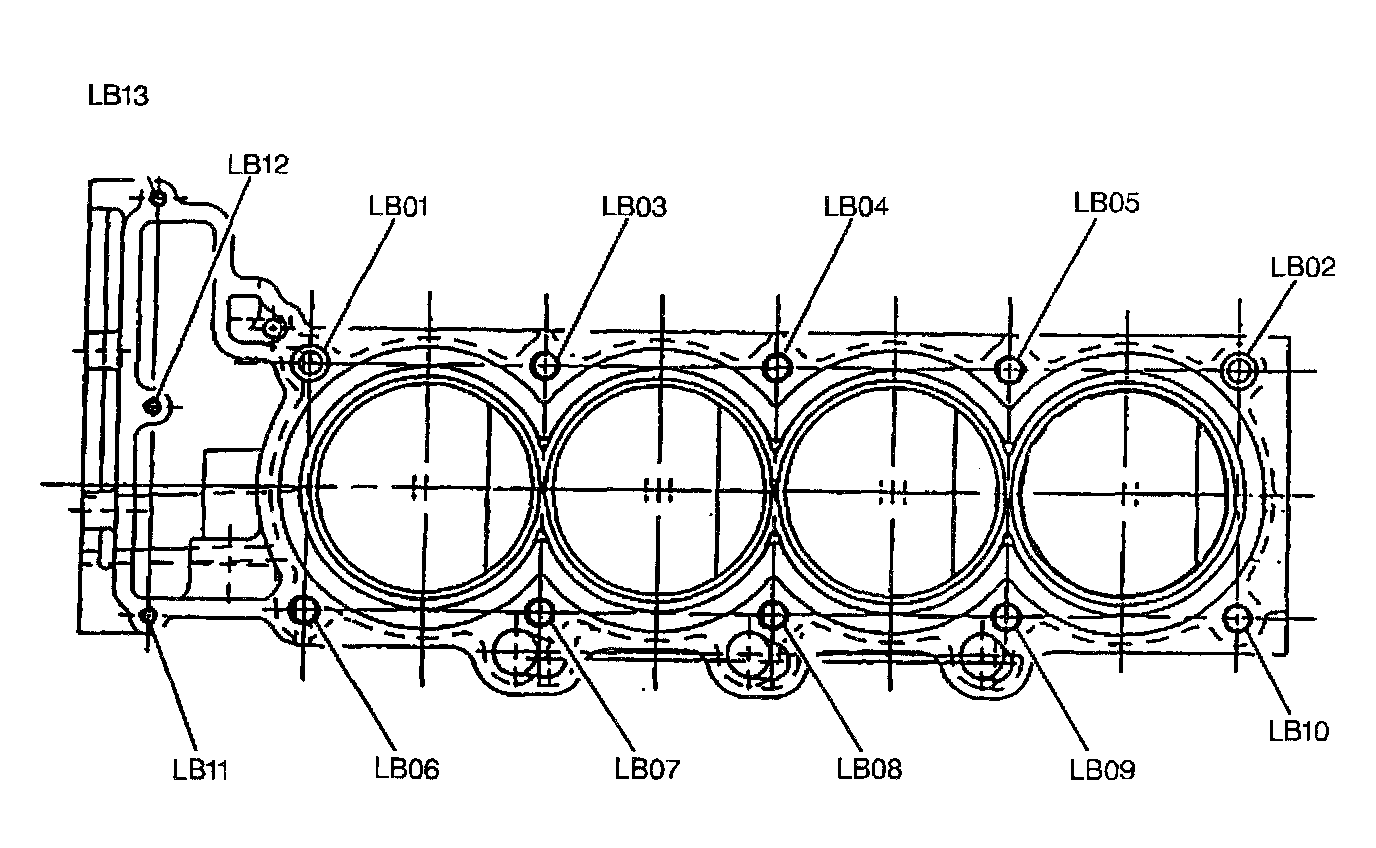
Left Bank Deck Face

1 Of 2:




2 Of 2:





Right Bank Deck Face

1 Of 3:




2 Of 3:




3 Of 3:





Cylinder Head Cam Cover Face

1 Of 2:




2 Of 2:





Front Face Of Cylinder Head

1 Of 2:




2 Of 2:





Rear Face Of Cylinder Head

1 Of 2:




2 Of 2:





Intake Face Of Cylinder Head

1 Of 2:




2 Of 2:





Exhaust Manifold Face Of Cylinder Head