LEMON Manuals: Even more car manuals for everyone
Home >> Chevrolet >> 2000 >> Corvette V8-5.7L VIN G >> Repair and Diagnosis >> Diagrams >> Electrical Diagrams >> Powertrain Management >> Computers and Control Systems >> Fuel Level Sensor

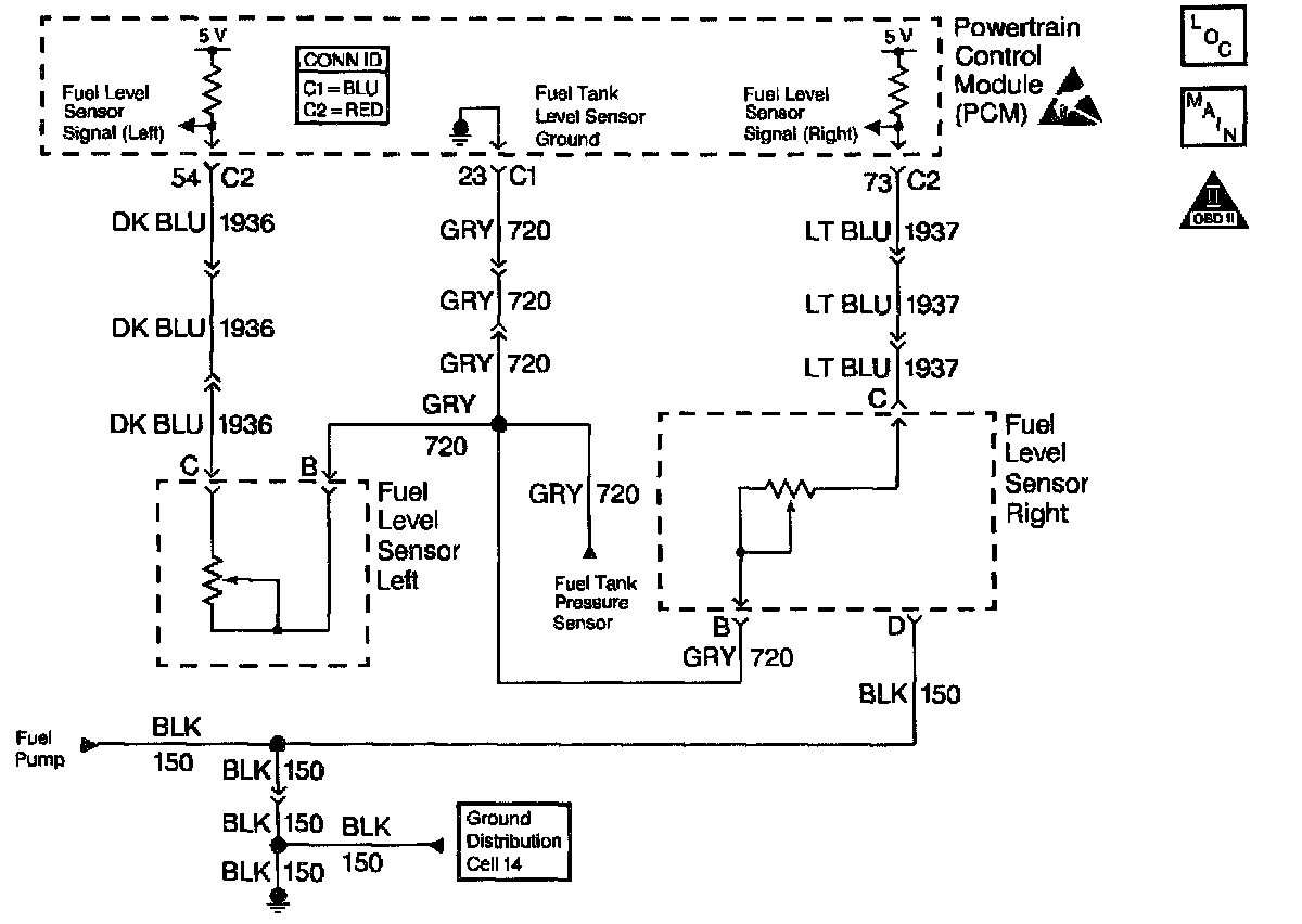
Fuel Level Sensor

Schematic: