LEMON Manuals: Even more car manuals for everyone
Home >> Hummer >> 2009 >> H2 V8-6.2L >> Repair and Diagnosis >> Body and Frame >> Tailgate >> Service and Repair >> End gate Replacement

End gate Replacement




Endgate Replacement

Removal Procedure

1. Open the spare tire carrier.
2. Open the end gate to a 45-degree angle.




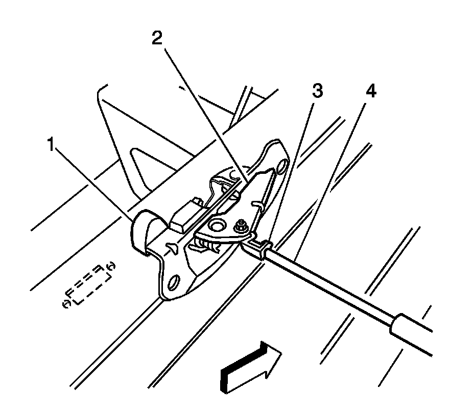
3. Release both right and left hand cables from the side panel cable bolts.




4. Lift the right side end gate off the end gate trunnion (2).
5. Remove the left side of the end gate off the left side trunnion.
6. Place the end gate on a clean, dry surface.




7. Remove the following parts:

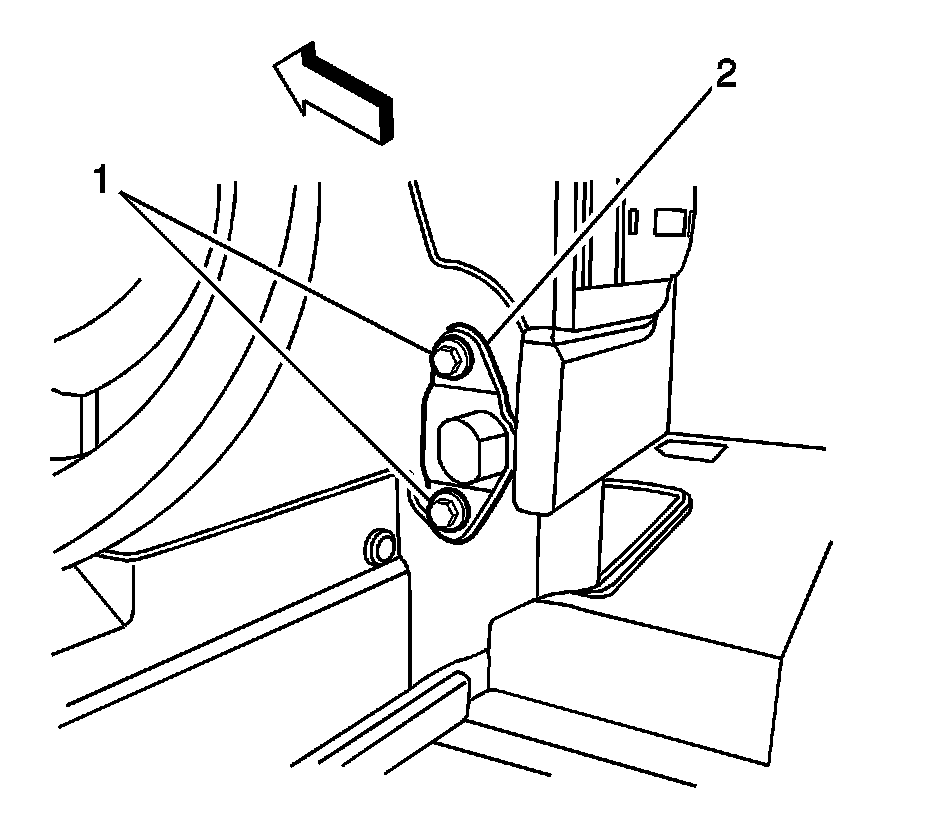
* Lower trunnion
* Endgate latch assembly (2)
* Endgate handle bezel
* Endgate handle/lock rods
* Endgate cap
* Endgate liner

Installation Procedure




1. Install the following parts:

* Endgate liner
* Endgate cap
* Endgate handle/lock rods
* Endgate handle bezel
* Endgate latch assembly (2)
* Both lower trunnions

2. Position the left side of the end gate to the lower left trunnion.




3. At a 45-degree angle, set the right side onto the right lower trunnion (2).




4. Secure both cables to the side panel cable bolts.
5. Close the end gate.
6. Latch and secure the spare tire carrier.