LEMON Manuals: Even more car manuals for everyone
Home >> Hummer >> 2009 >> H2 V8-6.2L >> Repair and Diagnosis >> Diagrams >> Components >> Passenger Compartment/Roof Component Views

Passenger Compartment/Roof Component Views




Passenger Compartment/Roof Component Views

Front Left Side of Passenger Compartment




1 - Seat Belt Pretensioner - Driver
2 - Inflatable Restraint Roof Rail Module Connector - Left Front
3 - Inflatable Restraint Roof Rail Module - Left Front
4 - Inflatable Restraint Vehicle Rollover Sensor
5 - Yaw and Lateral Accelerometer Sensor
6 - Audio Amplifier
7 - Inflatable Restraint Sensing and Diagnostic Module (SDM)

Right Front Passenger Compartment




1 - Rear Object Sensor Control Module (UD7)
2 - Inflatable Restraint Roof Rail Module - Right Front
3 - Seat Belt Pretensioner - Passenger

Driver Seat Components - 1 of 2




1 - Seat Recline Motor - Driver
2 - Seat Lumbar Vertical Motor Position Sensor - Driver
3 - Seat Lumbar Vertical Motor - Driver
4 - X324
5 - Seat Lumbar Horizontal Motor - Driver
6 - Seat Lumbar Horizontal Motor Position Sensor - Driver
7 - Seat Recline Position Sensor - Driver
8 - Seat Lumbar Switch - Driver
9 - Seat Adjuster Switch - Driver
10 - Memory Seat Module (MSM)
11 - Inflatable Restraint Seat Position Sensor (SPS) - Driver
12 - Seat Adjuster Motor Assembly - Driver
13 - Seat Belt Buckle - Driver

Driver Seat Components - 2 of 2




1 - Heated Seat Element - Driver Back
2 - Heated Seat Element - Driver Cushion

Passenger Seat Components - 1 of 2




1 - Seat Frame
2 - X325
3 - Seat Lumbar Vertical Motor - Passenger
4 - Seat Adjuster Switch - Passenger
5 - Seat Lumbar Switch - Passenger
6 - Seat Belt Pretensioner - Passenger
7 - Seat Adjuster Motor Assembly - Passenger
8 - Seat Adjuster Motor Assembly - Passenger
9 - Heated Seat Element - Passenger Cushion
10 - Seat Recline Motor - Passenger
11 - Seat Lumbar Horizontal Motor - Passenger

Passenger Seat Components - 2 of 2




1 - Heated Seat Element - Passenger Back
2 - Heated Seat Element - Passenger Cushion

Rear Seat Components




1 - Heated Seat Element - Right Rear Cushion
2 - Heated Seat Element - Left Rear Cushion
3 - Heated Seat Control Module - Rear

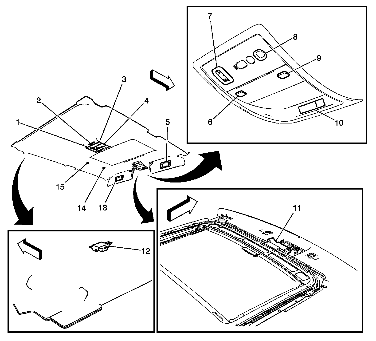
Headliner (SUT)




1 - Courtesy/Reading Lamp - 2nd Row (-U42)
2 - Infrared Receiver (U42)
3 - Infrared Transmitter(U42)
4 - Video Display (U42)
5 - Sunshade - Right
6 - Overhead Console Courtesy/Reading Lamp
7 - Sunroof Switch (CF5)
8 - Garage Door Opener (GDO)
9 - Overhead Console Courtesy/Reading Lamp
10 - Inflatable Restraint Passenger Air Bag On/Off Indicator
11 - Sunroof Module (CF5)
12 - Inside Air Temperature Sensor
13 - Cellular Telephone Microphone (UE1)
14 - Sunshade - Left

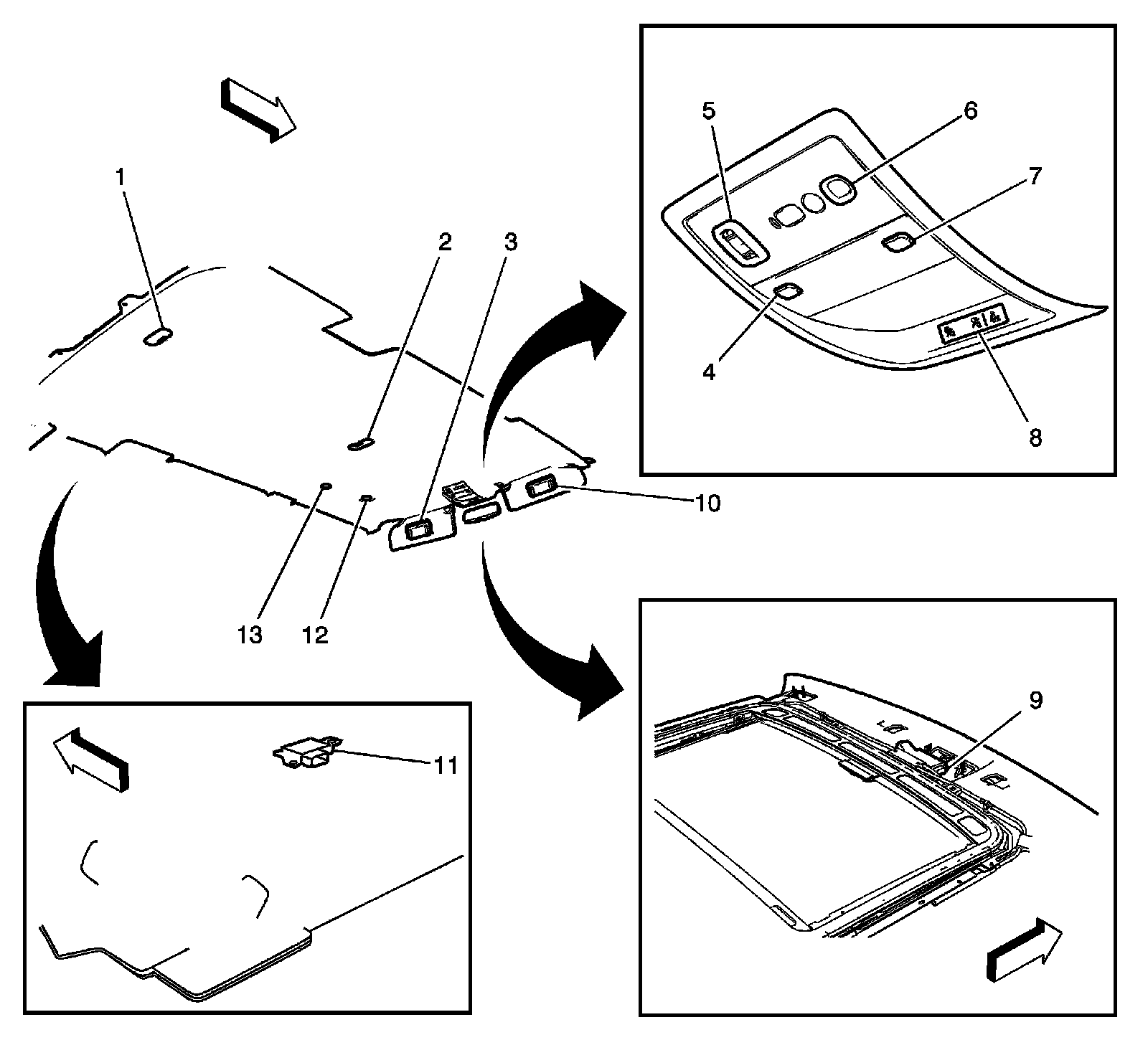
Headliner (SUV)




1 - Courtesy/Reading Lamp - 3rd Row
2 - Courtesy/Reading Lamp - 2nd Row
3 - Sunshade -Left
4 - Overhead Console Courtesy Reading Lamp
5 - Sunroof Switch (CF5)
6 - On Star Button Assemble (UE1)
7 - Overhead Console Courtesy Reading Lamp
8 - Inflatable Restraint Passenger Air Bag On/Off Indicator
9 - Sunroof Module (CF5)
10 - Sunshade -Right
11 - Cellular Telephone Microphone (UE1)
12 - Inside Air Temperature Sensor

Stationary Window Components




1 - Forward Lamp Harness
2 - Radiator Support
3 - Outside Air Temperature Sensor
4 - Ambient Air Temperature Sensor
5 - Inside Rearview Mirror Connector
6 - Sunshade Connector - Left
7 - Sunshade Connector - Right
8 - Center High Mounted Stop Lamp (CHMSL) Connector
9 - Rear Window Defogger Grid Connector
10 - Rear Window Defogger Grid Connector

ISRVM and Off-Road Lamps Switch




1 - Inside Rearview Mirror (ISRVM)
2 - Off-Road Lamps Switch (USB, USC, USD, UNR)
3 - Outside Temperature/Compass Display
4 - Rear Vision Camera Display (UVC)

Antenna Locations




1 - Cellular and Navigation and Digital Radio Antenna
2 - Global Positioning System (GPS) Antenna (UVB)
3 - Remote Control Door Lock Receiver (RCDLR)
4 - Radio Antenna