LEMON Manuals: Even more car manuals for everyone
Home >> Hummer >> 2009 >> H3 L5-3.7L >> Repair and Diagnosis >> Diagrams >> Exploded Views >> Antilock Brakes / Traction Control Systems

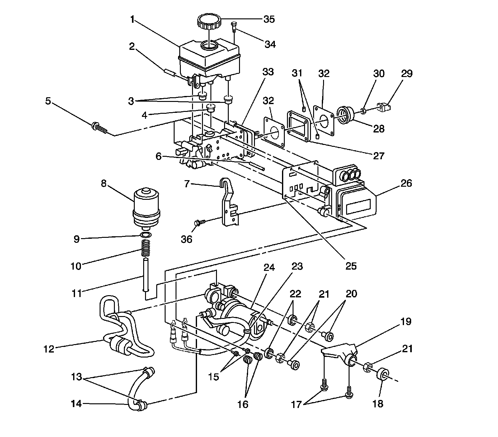
Antilock Brakes / Traction Control Systems




Disassembled Views




1 - Brake Master Cylinder Reservoir
2 - Reservoir Pin
3 - Brake Master Cylinder Grommet
4 - Brake Master Cylinder Grommet
5 - Electronic Brake and Traction Control Module Bolt
6 - Electronic Brake and Traction Control Module Locator
7 - Brake Fluid Level Indicator Wiring Harness Bracket
8 - Power Brake Booster Pump Fluid Accumulator
9 - Power Brake Booster Pump Fluid Accumulator (O-Ring) Seal
10 - Power Brake Booster Pump Fluid Accumulator Fitting Spring
11 - Power Brake Booster Pump Fluid Accumulator Fitting
12 - Power Brake Booster Outlet Front Pipe
13 - Power Brake Booster Pump Inlet Hose Clamp
14 - Power Brake Booster Inlet Hose
15 - Power Brake Booster Pump Harness Strap Bolt
16 - Electronic Brake Control Wiring Plug
17 - Power Brake Boost Pump Bracket ASM Bolt
18 - Power Brake Booster Pump Damper Retainer
19 - Power Brake Boost Pump Bracket
20 - Power Brake Booster Pump Locator Pin
21 - Power Brake Booster Pump Damper
22 - Power Brake Booster Pump Damper Retainer
23 - Power Brake Booster Pump Harness Strap
24 - Power Brake Booster Pump ASM Motor
25 - Electronic Brake and Traction Control Module ASM Gasket
26 - Electronic Brake and Traction Control (w/Brake Pressure Modulator Valve) ASM Module
27 - Brake Master Cylinder Spacer
28 - Brake Pedal Push Rod Boot
29 - Brake Pedal Push Rod Clevis
30 - Brake Pedal Push Rod Clevis Nut
31 - Brake Master Cylinder Spacer
32 - Brake Master Cylinder Spacer Gasket
33 - Brake Master Cylinder
34 - Brake Master Cylinder Reservoir Bolt
35 - Brake Master Cylinder Reservoir ASM Cap
36 - Brake Fluid Level Indicator Wiring Harness Bracket Bolt