LEMON Manuals: Even more car manuals for everyone
Home >> Hummer >> 2009 >> H3 L5-3.7L >> Repair and Diagnosis >> Starting and Charging >> Battery >> Battery Cable >> Service and Repair >> Generator Cable Replacement

Generator Cable Replacement




Generator Cable Replacement (With LLR) (3.7L)

Note:
* Always use replacement cables that are of the same type, diameter and length of the cables that are being replaced.
* Always route the replacement cable the same way as the original cable.

Removal Procedure




1. Disconnect the battery negative cable. Refer to Battery Negative Cable Disconnection and Connection (Battery Negative Cable Disconnection and Connection).
2. Remove the battery cable harness clips (1, 2) from the battery tray.




3. Press the locking tabs inward in order to remove the underhood fuse block cover from the underhood fuse block.
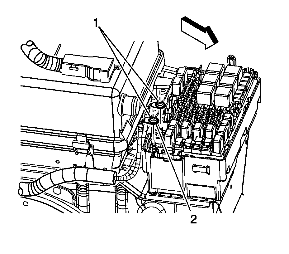
4. Remove the nut (1) securing the generator positive cable inner terminal to the underhood fuse block.




5. Remove the left front wheelhouse liner. Refer to Front Wheelhouse Liner Replacement (Service and Repair).
6. Reposition the protective boot from the generator output BAT terminal for access.
7. Remove the generator output BAT terminal nut (2) and disconnect the generator positive lead (1) from the generator.
8. Remove the positive cable clip (3) from the engine wiring harness bracket.
9. Remove the generator positive cable from the battery cables harness conduit.

Installation Procedure




1. Insert the generator positive cable into the battery cables harness conduit.
2. Install the positive cable clip (3) to the engine wiring harness bracket.

Caution: Refer to Fastener Caution (Fastener Caution).

3. Connect the generator positive lead (2) to the generator and install the generator output BAT terminal nut (1) and tighten to 20 Nm (15 lb ft).
4. Position the protective boot onto the generator output BAT terminal.




5. Install the nut (1) securing the generator positive cable inner terminal to the underhood fuse block and tighten to 10 Nm (89 lb in).
6. Install the left front wheelhouse liner. Refer to Front Wheelhouse Liner Replacement (Service and Repair).
7. Install the underhood fuse block cover to the underhood fuse block, engaging the locking tabs.




8. Install the battery cable harness clips (1, 2) to the battery tray.
9. Connect the battery negative cable. Refer to Battery Negative Cable Disconnection and Connection (Battery Negative Cable Disconnection and Connection).