LEMON Manuals: Even more car manuals for everyone
Home >> Kia >> 2001 >> Rio L4-1.5L >> Repair and Diagnosis >> Diagrams >> Exploded Views >> Exhaust System

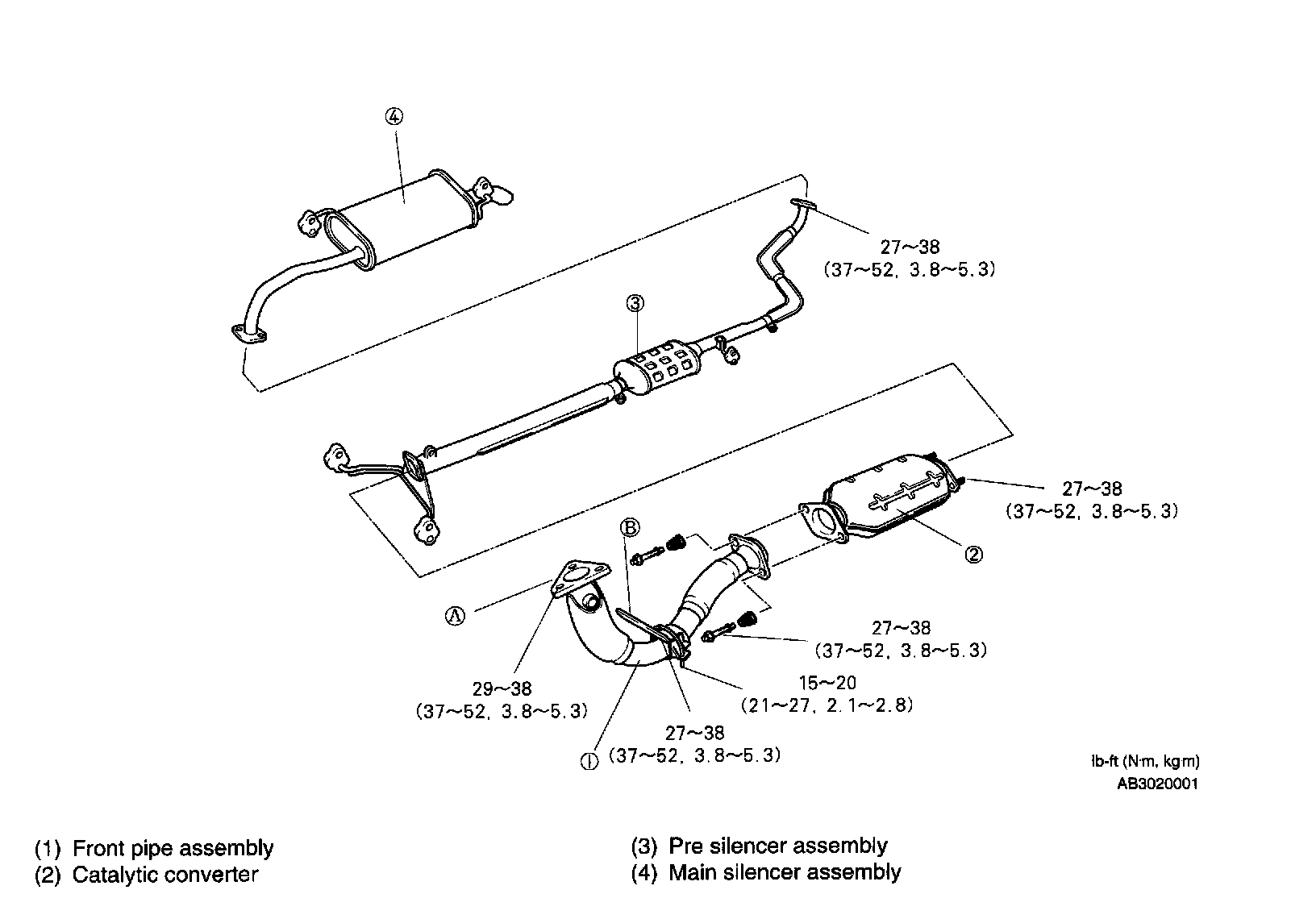
Exhaust System