LEMON Manuals: Even more car manuals for everyone
Home >> Nissan-Datsun >> 2012 >> Leaf ELE-Electric Engine >> Repair and Diagnosis >> Heating and Air Conditioning >> Service and Repair >> Heater Fluid >> Draining And Refilling

Draining And Refilling




HEATER FLUID

Draining and Refilling


CAUTION:
- Never put additive such as waterleak preventive, since it may cause waterway clogging.
- When refilling use genuine NISSAN coolant or equivalent in its quality mixed with water (distilled or demineralized).
- Make sure not to dilute it with water.

DRAIN


CAUTION:
- Be sure to drain when heater fluid temperature is cold.
- This should be performed so that heater fluid never come in contact with surrounding parts.
1.Remove front under cover. Refer to "FRONT UNDER COVER : Removal and Installation" Front Under Cover.





2.Open the drain cock (1), and then remove degas tank cap and drain heater fluid.


3.Remove reservoir tank and drain the heater fluid as per the following procedure.
1.Remove radiator upper grille. Refer to "RADIATOR UPPER GRILLE : Removal and Installation" Radiator Upper Grille.
2.Remove reservoir tank hose and reservoir tank mounting bolts.
3.Pull out the lower reservoir tank toward vehicle front. Remove insertion area and raise the tank for removal.

REFILLING

1.Install reservoir tank. (Install in the reverse order of removal.)
2.Close drain cock.
3.Check tightening of hose clamp.





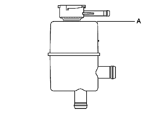
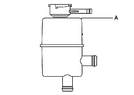
4.Fill water to line (A) from degas tank cap.
5.Set the vehicle to READY and operate heater pump.





6.When the degas tank level is low, open the degas tank cap and refill the tank with water to line (A).
7.When the level is not lowered, close the degas tank cap and turn OFF the push start switch (stop the heater pump).

CAUTION:
If the heater pump is stopped with the degas tank open, heater fluid may be spilled.
8.Refill heater fluid to "MAX" line of reservoir tank.

CHECK WATER FLOW SOUND


CAUTION:
Prior to check, be sure to close windows, doors, and hood, and turn OFF audio system and other electrical loads.
1.Operate the heater pump for 1 minute.
2.Check if water flow sound can be heard from the instrument panel.
3.If water flow sound is heard, operate the heater pump until it cannot be heard.
4.When water flow sound cannot be heard, fill the reservoir tank up to "MAX" line.

CAUTION:
- Insufficient heater fluid may cause overheat, water flow sound of heater core, and malfunction of heater and defroster. Be sure to bleed air thoroughly.
- Never operate the heater pump without heater fluid.