LEMON Manuals: Even more car manuals for everyone
Home >> Volvo >> 2000 >> S80 2.9 L6-2.9L VIN 94 B6294S >> Repair and Diagnosis >> Body and Frame >> Body Control Systems >> Testing and Inspection >> Scan Tool Testing and Procedures >> Activate Components/Functions >> Central Electronic Module (CEM)

Central Electronic Module (CEM)






Activating components/functions

Activating components/functions




- Ignition on or Start the engine.
Certain functions will only operate when the vehicle ignition is on.
Operation is de-activated if: Communication with VIDA is cut off.

Note! The windscreen wiper must be operating at low speed before the high/low speed option can be activated.

Activate components/functions by clicking on the symbol for VCT 2000.
For information on the various activations, see Diagnostic functions Diagnostic Functions.





Continue - DONE

Numeric Result 0 - Communication fault

-------------------------------------------------

Communication fault




Communication fault

Communication fault
Communication has been interrupted for one of the following reasons:
- The ignition is switched off
- VCT2000 disconnected from the data link connector (DLC)
- VCT2000 disconnected from the VIDA cart
- Communication problems in VIDA application or in car.
- No voltage in the data link connector (DLC).

Check therefore:
- That the control module power supply and ground terminal are fault-free.
- That the fuse for the data link connector (DLC) is intact.
- that the ignition is on
- that the battery voltage (system voltage) is normal (approximately 12 V).
If necessary a battery charger can be connected during the test.
For information about charge currents and the battery, see: Battery, charging Battery, Charging
- that VCT2000 is correctly connected to the VIDA cart and the data link connector (DLC)
- that VCT2000 and the wiring is fault-free.

Other information
- For information about fuse and terminal numbers, see the relevant Wiring Diagram.
Try to establish communication again or exit reading off diagnostic trouble codes (DTCs). Depending on the communication fault, select one of the following options.
1. Try again
2. Fault-trace more comprehensively for the communication problem that has occurred
3. Exit fault-tracing / Read off from the next system.





Which alternative is requested?

1 - 1

2 - 2

3 - 3

------------------------

1 - Activating components/functions

2 - Checking communication

3 - Exit fault-tracing / Read off from the next system

-------------------------------------------------

Checking communication





Checking power supply and ground CEM

Checking power supply
If the fault exists, fault-trace according to permanent fault-tracing. If the fault has occurred but is no longer present, fault-trace according to intermittent fault-tracing.
Check that the battery is charged.
Check voltage to ground at the following points:
- main fuse 11A/2
- fuse 11C/32
Voltage should be battery voltage.
Check that fuses are intact.

Hint: If a fuse has blown there is usually a short-circuit in a cable. Fault-trace as follows before replacing the fuse

Remedy as necessary.
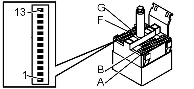
Check connector 54/3R (see illustration) for contact resistance and oxidation according to Checking wiring and terminals. Permanent fault Checking Wiring and Terminals. Permanent Fault. Check particularly for any damage.
Check connector 54/3L (see illustration) for contact resistance and oxidation according to Checking wiring and terminals. Permanent fault Checking Wiring and Terminals. Permanent Fault. Check particularly for any damage.
Check wiring and connectors between the central electronic module #6E and the battery for a permanent open-circuit according to Checking wiring and terminals. Permanent fault Checking Wiring and Terminals. Permanent Fault for an intermittent open-circuit according to Checking wiring and terminals. Intermittent faults Checking Wiring and Terminals. Intermittent Faults and for loose connections according to Checking wiring and terminals. Intermittent faults Checking Wiring and Terminals. Intermittent Faults.
Check wiring and connectors between control module #6E and the battery for a permanent short-circuit to ground according to Checking wiring and terminals. Permanent fault Checking Wiring and Terminals. Permanent Fault and for an intermittent short-circuit to ground according to Checking wiring and terminals. Intermittent faults Checking Wiring and Terminals. Intermittent Faults. Check particularly for any damage.

Other information
- To access/replace the central electronic module connector, see Central electronic module (CEM), replacing Central Electronic Module (CEM), Replacing
- Connection of breakout box to control module, see Connecting the breakout box Connecting the Breakout Box, Central Electronic Module (CEM)









Was a fault detected?

Yes - communication between the car and VIDA

No - Checking ground lead

------------------------

Checking ground lead
Check the wiring between the central electronic module connector #1E and ground terminal/ground: the left A-post (right A-post, RHD) for a permanent open-circuit according to Checking wiring and terminals. Permanent fault Checking Wiring and Terminals. Permanent Fault and intermittent open-circuit according to Checking wiring and terminals. Intermittent faults Checking Wiring and Terminals. Intermittent Faults.

Other information
- To access/replace the central electronic module connector, see Central electronic module (CEM), replacing Central Electronic Module (CEM), Replacing
- Connection of breakout box to control module, see Connecting the breakout box Connecting the Breakout Box, Central Electronic Module (CEM)





Was a fault detected?

Yes - communication between the car and VIDA

No - Replacing the control module

------------------------

Replacing the control module
Replace the control module according to Central electronic module (CEM), replacing Central Electronic Module (CEM), Replacing

Continue - communication between the car and VIDA

------------------------

Symptom check, communication between the car and VIDA
Check that the communication between the car and VIDA by reading off the central electronic module identity (press the VCT 2000 symbol).





Is communication established?

Yes - FAULT FOUND

No - No Fault Found

------------------------

No Fault Found - Trouble-shooting information

-------------------------------------------------

Trouble-shooting information




Fault-tracing information
Fault-tracing communication problems is now finished.

Do you want to try establishing communication again?

Yes - YES

No - NO

------------------------

YES - Activating components/functions

NO - FAILED

-------------------------------------------------